时隔七年再进澳网决赛!张帅组合2-0击败对手,晋级澳网女双决赛
达尼丽娜/克鲁尼奇2-1达布劳斯基/史蒂芬妮,晋级澳网女双决赛
短道速滑队媒体开放日:林孝埈、刘少昂、范可新等名将悉数亮相
樊振东晒与科瓦奇合照:一个艰难的夜晚,多特和皇马都遭遇打击
澳网女单夺冠赔率:萨巴伦卡1赔1.75,莱巴金娜1赔3.2
斯诺克德国大师赛32进16轮次:奥沙利文3-5不敌卡特,无缘16强

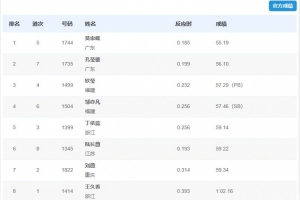
体育资讯11月17日讯 全运会田径女子400米栏决赛,莫家蝶以55秒19的成绩夺得金牌,孔莹蓥获得银牌,欧莹获得铜牌。
女子400米栏决赛成绩详情如下:
1 莫家蝶 55.19
2 孔莹蓥 56.10
3 欧莹 57.29(PB)
4 邹亦凡 57.46(SB)
5 丁依蕊 59.14
6 陆长薇 59.22
7 刘薇 59.34
8 王久香 1:02.16